产品展示
联系我们
上海茂育科教设备有限公司
生产基地:上海松江叶榭工业园
业务电话:021-56311657
业务电话:021-56411696
业务手机:17821391226(陈经理)
业务手机:13916286558(陈金达)
网址:www.jiaoxueyq.com
网址:www.shmaoyu.cn
邮箱:shanghaimaoyu@126.com
电工室内照明线路安装实验
作者:茂育科教 发布时间:2019-10-25 15:33:58
电工室内照明线路安装实验训练内容:
(1)照明附件的安装。
(2)白炽灯与荧光灯的安装。
①一只开关控制一盏白炽灯;
②一只开关控制一盏荧光灯。
二、器材准备:
(1)HK2-15/2刀开关1只;
(2)RC1A15/10熔断器2只;
(3)照明附件:¢75mm木台5块;
单联开关2只;
挂线盒、螺口平灯座、双极明插座、明装接线盒各1只;
(4)荧光灯具1套;
(5)木制配电板(700mm×450mm×50mm)1块;
(6)导线BVV1mm2两芯塑料护套线、RVS塑料绝缘软线(荧光灯连接线)若干根;
(7)塑料线卡、小钉子、各种规格小螺钉各1包;
(8)黑胶带若干;
(9)电工常用工具。
三、训练要求:
(1)安装步骤
①定位及划线;
②敷设塑料护套线及用塑料线卡固定;
③固定刀开关、熔断器、接线盒、木台(木台在固定前须根据敷线的位置锯出线槽及钻两个出线孔);
④安装灯座、开关、插座和挂线盒;
⑤安装荧光灯:根据荧光灯管长度固定荧光灯座,再固定镇流器和启辉器座,然后用塑料软线连接荧光灯线路,最后插入灯管和启辉器。
(2)一只开关控制白炽灯,另一只开关控制荧光灯,插座不受开关控制。
(3)各照明附件必须安装牢固,布线整齐美观。
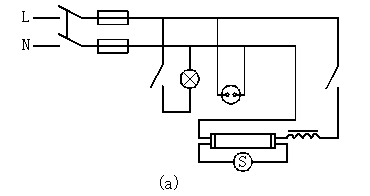
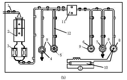
安装完毕后,自查安装线路。线路原理和安装图:如图1 (a)、(b)所示。


图1 照明线路的安装
(a)原理图 (b)安装图
1-电源进线 2-刀开关 3-熔断器 4-控制白炽灯的开关 5-平灯座
6-插座 7-控制荧光灯的开关 8-挂线盒 9-木台
10-荧光灯具一套 11-接线盒 12-两芯塑料护套
(4)注意点:
①两芯塑料护套线要认准接电源中性线和接相线的塑料绝缘层的颜色。在安装过程中不宜把两种颜色混淆,以便于安装及自查。
②从挂线盒到荧光灯用软线连接。
③导线在接线盒和木台中的连接及镇流器与导线连接后缠绕两层黑胶带作绝缘处理。
④经指导教师安全检查后,才能通电试验。严禁带电安装及检修。
四、成绩评定:评分表
| 项目内容 | 配 分 | 评 分 标 准 | 扣 分 | 得 分 |
| 护套线配线 | 30 | (1)护套线敷设不平直,每处扣5分 (2)护套线转角不圆,每处扣5分 (3)线卡安装不符要求,每处扣5分 (4)导线剖削损伤,每处扣5分 |
||
| 灯具插座安装 | 70 | (1) 安装错误造成断路、短路故障、 每通电实验一次扣20分 (2)相线未进开关,扣20分 (3)元件安装松动,每处扣5分 (4)开关、插座安装歪斜,每个扣5分 |
||
| 安全文明操作 | (1) 违反操作规程,每次扣5分 (2)工作场地不整洁,扣5分 |
|||
| 工时:2.5h | 评分 |
上一篇:探索电工电子技术在电力系统的作用
下一篇:汽车实训基地建设预期效果
推荐阅读


